W. Steewer (1902) вперше запропонував видаляти кришталик ложечкою, в ручці якої є канал, з'єднаний з гумовим балоном. Створюваний в останньому вакуум сприяє присасыванию кришталика до ложечці. Автор провів дві вдалі операції. У 1910 р. G. Hulen застосував вакуум-насос, за допомогою якого в 6 випадках витягнув катаракту в сумці. Однак ці способи не привернули уваги офтальмохірургів. Тільки після того, як у 1920 р. J. Barraquer запропонував для розрідження повітря більш досконалий апарат у вигляді насоса, що приводиться в дію електродвигуном, метод викликав інтерес (рис. 18). Автор назвав свій прилад вібруючим зонулотомом. Операція проводилася або в комбінації з иридэктомией і виведенням кришталика методом ковзання, або через круглий зіницю і методом перекидання.

Рис. 18. Эризофак Барракера
В подальшому було встановлено, що внаслідок недосконалості складної апаратури і методики її застосування метод Барракера дає ряд важких ускладнень в ході операції. Дія вакуум-приладу Барракера, як і насоса Хулена, відрізняється значною силою, що не піддається належного контролю. Під час операцій спостерігалися випадки всмоктування разом з кришталиком частині склистого тіла [Elschnig А., 1932; Kirby D. Ст., 1949; Harrington D. О., 1951]. У зв'язку з цим наголошувалося навіть загибель очі [Andrade L., 1948]. Апарат Барракера не може бути рекомендований для мікрохірургії катаракт.
Т. J. Dmitry (1939) запропонував эризофак у вигляді шприца. Інструмент легко регулюється, але виявилося, що його сила присмоктування мала. Надалі Е. Bell (1948) застосував присоску у вигляді піпетки. Такий эризофак простий, але дуже легкий і вільно зміщується під час операції навіть при легкому натиску на гумову грушу. Цей же недолік властивий апарату, сконструйованому D. С. Harrington (1951).
Для вакуум-екстракції пропонувалося використовувати установки типу сполучених посудин, що приводяться в рух ногою або рукою [Villaseca А., 1956], присмоктування ротом [Falcao Р., 1947], водоструминний насос [Barraquer J., Boberg-Ans J., 1959; Мерджанов X. та ін, 1961]. У Радянському Союзі знаходить застосування эризофак Краснова і Тихомирової (1961). Він складається з присасывающейся чашечки з сполучною трубкою і товстостінного гумового балона.
Ми вважаємо, що вакуум-спосіб має переваги перед пинцетным. Експериментально встановлено, що сила присмоктування чашечки ерізофака до кришталика складає 20-50 г [Villaseca А., 1956]. Отже, вона значно більше, ніж при пиндетной методикою (5-8 м), і її цілком достатньо для вилучення кришталика. Крім того, эризофак порівняно з пінцетом створює більш вигідні умови розподілу навантаження на велику поверхню капсули кришталика.
При використанні ерізофака розриви капсули кришталика зустрічаються значно рідше, ніж при використанні пінцетів, а візуальні результати більш високі [Шмельова Ст. Ст., 1963, 1981; Смеловскій А. С., 1965; Perez A., Llorca J., 1947; More-au A., 1963]. Застосовуючи эризофак і розподіляючи силу тяги по поверхні капсули, вдається витягувати кришталик в основному за рахунок тракції. При пинцетном методі це часто призводить до розриву капсули. Звідси прагнення для відриву зв'язок використовувати гачки, шпателі, але вони чинять значний тиск на око і збільшують частоту витреальной втрати. Навпаки, виведення кришталика за рахунок тракції при вакуум-спосіб чинить менший тиск на-віч в ході операції, в зв'язку з чим рідше спостерігається втрата склоподібного тіла. За даними В. о. Шмельова (1963), вона спостерігалась лише у 3,7% випадків. Виходячи з цього, деякі автори пропонували проводити вакуум-екстракцію у всіх випадках старечої катаракти [Perez A., Lorca J., 1947; Doienek A., Postelka 2. К, 1962].
Н. А. Пучковська (1965), навпаки, вважає цей спосіб найбільш травматичним, так як позаду рогівки вводиться досить великий інструмент, який легко пошкоджує ендотелій і десцеметову оболонку, що, на думку автора, нерідко викликає серйозні наслідки. В. о. Шмельова (1970) не рекомендує эризофак тільки в .случаях в'ялою капсули. Вперше эризофак з балоном Белла застосував П. Е. Тихомиров (1956), але він витягнув тільки 13 з 26 катаракт, що пов'язано з недостатньою присасывающей силою гумового балона. В. о. Шмельова (1963) в результаті 408 операцій, виконаних вітчизняним эризо-факом, у всіх випадках отримала гостроту зору 0,3-1,0. Розрив капсули кришталика відзначений тільки в 14, втрата склоподібного тіла - у 15 випадках.
X. Мерджанов і співавт. (1961) застосували в якості присасывающего інструменту водяний насос, приєднаний до водопровідного крана, а також эризофак, зроблений з пункцион-ної голки, на кінці якої прикріплена кругла ложечка із зовнішнім діаметром 3-5 мм для різних моделей. На 143 операції автори спостерігали розрив капсули в 13 випадках (12,6%), втрату склоподібного тіла у 7 (5%). На жаль, в роботі не приводиться гострота зору після операції.
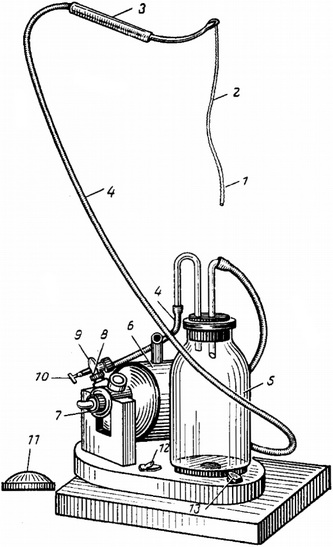
В доступній літературі ми не знайшли повідомлень про можливості застосування вакуум-способу в мікрохірургії катаракт. Вважаємо, що може бути використана розроблена нами методика. Для створення вакууму ми застосували вітчизняний электроотсасыватель (рис. 19) і сконструювали спеціальні ложечки-насадки до нього (рис. 20). Техніка операції описана нами раніше [Смеловскій А. С., 1962, 1967, 1968]. Вакуум-екстракція катаракти проводилася нами в основному в 1961-1964 рр. без застосування мікроскопа. На 111 операцій розрив капсули кришталика відзначено в 4 очах (3,6%), втрата склоподібного тіла - в 21 (18,9%), відшарування хориоідеї - у 3 (2,7%), ірит або іридоцикліт у 12 (10,8%), випадіння райдужки у 5 (4,5%). У 48 хворих (43%) при виписці гострота зору з корекцією була дорівнює 0,3-1,0, у 55 (50%) -0,1-0,2, у 8 (7%) - нижче 0,1. При віддалених спостереження до 3 років підвищення гостроти зору на 0,1-0,7 відмічено у 44 з 56 хворих. У 12 оперованих гострота зору не змінилася. За нашими даними, эризофакия - технічно більш складний спосіб, ніж, наприклад, криофакия або операції з ферментативним зонулолизисом. Эризофакия не має яких-небудь істотних переваг у відношенні результату операції, тому показання до застосування цього способу, на нашу думку, повинні бути звужені. Він може знайти застосування як спосіб вибору при неускладненій старечої катаракти з ненатянутой капсулою кришталика.

Рис. 19. Загальний вигляд системи для вакуум-екстракції катаракти.
1 - ложечка-насадка з ручкою; 2 - сполучна гумова трубка з надувний манжеткою; 3 - металевий наконечник; 4 - гумові трубки; 5 - скляна посудина; 6 - електродвигун; 7 - компресор; 8 - патрубок; 9 - штуцер; 10 - регулювальний гвинт; 11 - шнур зі штепсельною вилкою; 12 - вимикач; 13 - клеми заземлення.

Рис. 20. Моделі ложечок-насадок для вакуум-екстракції катаракти. а - органічне скло; б - латунь; в - золото; г - срібло. Цифри без дужок - зовнішній діаметр і висота ложечок, цифри в дужках - внутрішній діаметр і висота ложечок.
